Правильний ремонт двигуна - в кожен регіон!
Зверніть увагу!
Компанія "СП В.М.С.", представлена мережею Центрів "ПроМотор", є лідером в області механічної обробки деталей ДВЗ в Україні.
докладніше
Механічна обробка ГБЦ

Вступ.

Працюючи на ринку надання послуг з механічної обробки деталей двигуна внутрішнього згорання, стикаємося з певним набором питань, що виникають у наших Замовників послуг з механічної обробки голівок блоків циліндрів(ГБЦ). Ми із задоволенням розповімо про основні операції при відновній механічній обробці ГБЦ.
Техніко- економічні характеристики ДВС, а це потужність, обертаючий момент, витрата палива, споживання олії і інші, в першу чергу залежать від досконалості процесів, що формуються правильною роботою елементів голівки блоку циліндрів.
Голівка блоку циліндрів в ДВС виконує відразу декілька найважливіших функцій..

ГБЦ - це частина ДВС що бере участь в:

  • системі охолодження ДВС;
  • системі газорозподілу ДВС, де конструктивно розміщені такі елементи газорозподільного механізму, як системи - "втулка-сідло-клапан", як з боку "впуск", так і з боку "випуск"; розподільний вал(чи вали) з елементами і механізмами регулювання проміжків; форсунки, свічки запалення, і інші, не елементи.


Така складна система механізмів комплектуючих ГБЦ вимагає дуже уважного обстеження і обміру перед початком визначення шляхів проведення ремонту і механічної обробки.
Перед проведенням обстеження, ГБЦ розбирається від усього навісного обладнання, ретельно миється, очищається від нагари, відкладень в камерах згорання, колекторних каналах, порожнині системи охолодження, масляних каналах оглядом перевіряється на наявність тріщин, сколов, раковин кавітацій.
Найбільш поширеними дефектами голівок блоків циліндрів є:

  • не герметичність порожнини системи охолодження, склянок форсунок і компенсаційних заглушок;
  • знос втулок клапанів;
  • знос сідел клапанів;
  • знос фасок тарілок клапанів і стержнів клапанів;
  • втрата пружності клапанних пружин;
  • тріщини перемичок між сідлами клапанів, тріщини між сідлами і отворами під розпилювачі форсунок, тріщини в отворах свічок запалення або руйнування кавітацій на площинах камер згорання;

Короткий опис технологічних операцій

Приводимо послідовність виконання стандартних операцій відновлення і механічної обробки ГБЦ прийняті у нас в мережі цехів «ПроМотор».
Технологічні операції Замовник може замовити з переліку виконуваних робіт. Приводимо основні види виконуваних операцій:

Обмір ГБЦ;

Перевірка порожнини системи охолодження ГБЦ на герметичність;

Заміна направляючих втулок клапанів ГБЦ;

Відновлення направляючих втулок клапанів шляхом установки у внутрішній діаметр н.в.к. бронзового вкладиша за технологією K - Line(США);

Заміна сідел клапанів, як з боку "Впуск", так і з боку "Випуск";

Механічна обробка площини ГБЦ під прокладку блоку циліндрів і площин під колектора "Впуск", "Випуск";

Шліфовка робочої фаски "тарілки" клапана;

Профювання робочих фасок сідел клапанів;


При зверненні до нас в майстерні, Замовник фахівець з ремонту ДВС, згідно прийнятих у нас «Правил прийому і виконання робіт по механічній обробці і відновного ремонту деталей двигуна внутрішнього згорання (ДВЗ)» зобов'язаний провести обмір параметрів ГБЦ, надати параметри по яких необхідно провести механічну обробку. За відсутності вимірювального інструменту у Замовника робіт, Ви можете замовити операцію "Обмір" за параметрами прийнятих у нас на виробництві, для прийняття Замовником правильних шляхів виконання механічної обробки ГБЦ. За відсутності параметрів ГБЦ у Замовника, наші фахівці можуть надати існуючу у нас літературу, або усереднені параметри, або рекомендовані світовими лідерами у виробництві ДВС.

Опис основних операцій механічної обробки ГБЦ

Операція "Обмір ГБЦ"» (за параметрами, прийнятими у нас).
Фахівець проводить візуальний огляд деталі, фіксує наявність ушкоджень, раковин, тріщин, сколів.

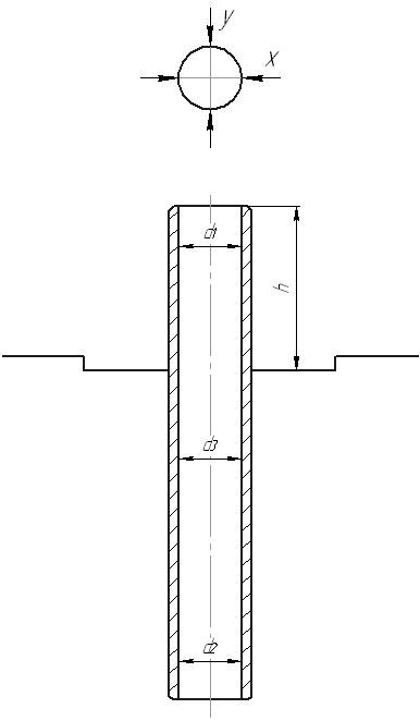
Крок первый: Обмір направляючих втулок клапана(н.в.к.) з боку "Впуск" і обмір направляючих втулок клапанів з боку "Випуск". Обмір внутрішнього діаметру проводиться вимірювальним інструментом - нутромір. Проводимо виміри направляючих втулок, як по діаметру, так і по порушенню геометрії поверхні з точністю - 0.01мм;
Проводимо виміри висоти установки, підвищення н.в.к. над площиною.


Схема обміру направляючої втулки клапана

Результати обміру фіксуються в Карті виконаних робіт.

За результатами обміру вибираються шляхи ремонту направляючих втулок клапанів.

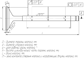
Крок другий: Обмір клапанів з боку "Впуск" і обмір клапанів з боку "Випуск". Обмір проводиться для кожної групи клапанів окремо.
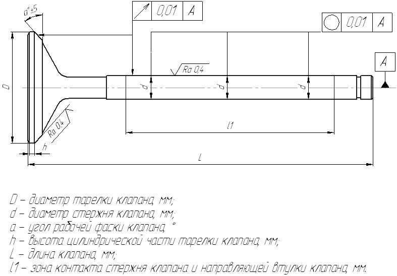
Операція обміру включає вимір параметрів :

  • загальною довгі клапана; (штангенрейсмас ц.д 0.01мм);
  • діаметр тарілки клапана; (штангенциркуль ц.д. 0.05мм);
  • висоту циліндричної частини тарілки клапана; (штангенциркуль ц.д. 0.05мм);
  • кут робочої фаски тарілки клапана; (шаблон спеціальний або кутомір універсальний УН- 127);
  • діаметр стержня клапана; (мікрометр 0...25мм ц.д. 0.01мм);
  • параметри канавки під клинові фіксатори; (штангенциркуль ц.д. 0.05мм);
  • вимір радіального биття робочої фаски тарілки клапана, відносно радіального биття стержня клапана. (Прилад спеціальний ПБК007, ИЧ-10Ц.д. 0.01мм

Схема обміру клапана
Крок третій : Обмір величини "Виліт штока клапана" груп клапанів з боку "Впуск" з боку "Випуск"

Схема виміру висоти ГБЦ, вильоту штока клапана
Цей параметр дуже важливий для ГБЦ що має конструктивно регулювання проміжків через гідравлічні компенсатори(вихід з параметра висоти роботи гідравлічного компенсатора), регулювальні скляночки з мірною товщиною денця або з мірними шайбами(висоти комплектів, що мають промисловий набір, від виробника)..

Крок четвертий: Обмір величини "Залягання тарілки клапана" груп клапанів з боку "Впуск" з боку "Випуск"

Схема залягання тарілки клапана
В основному цей параметр вимірюється для ГБЦ дизельних ДВС, але цей параметр зустрічається і для бензинових ДВС.

Обміром параметрів за пунктами 3 і 4 визначається знос сідел клапанів. За результатами приймається рішення про заміну кілець сідел клапанів.

Крок п'ятий: Обмір величини "Висота ГБЦ".
Для ДВС величина "Висота ГБЦ" має вирішальне значення. Це пов'язано з форсунками(ГБЦ дизельних ДВС), що виступають, а так само обмеженням величини камери згорання яка формується в основному за рахунок конструкції поршня і товщини прокладки і формою камери в тілі ГБЦ, а так само важливо не змінити міжцентову відстань прив'язки шестерень механізму газорозподілу.

Обмір важливий для ДВС працюючих на бензиновому паливі. Зміна(зменшення) висоти ГБЦ призводить до зміни величини об'єму камери згорання, зміни параметра натягнення ланцюга приводу розподільних валів і інших особливостей конструкції, що впливає на роботу механізму. ГБЦ що мають конструкцію з не паралельними площинами, обмеження, як правило, йде за величиною камери згорання.

Крок шостий: Обмір величини "Деформація площини ГБЦ"

Схема обміру деформації площини ГБЦ

Параметр має істотний вплив на працездатність ДВС, на правильне обтискання прокладки між ГБЦ і БЦ.
На ГБЦ важких транспортних ДВС дуже важливо перевірити вироблення і деформацію площини під кріплення колектора "Впуск", а особливо колектора "Випуск". При не герметичності з'єднання колектора з ГБЦ йде підсос забрудненого повітря в працюючий ДВС. Забруднення з атмосфери, потрапляючи на стержні клапанів, заносяться штоком клапана, на поверхню внутрішнього діаметру втулок і значно скорочують ресурс роботи н.в.к., особливо з боку "Випуск"(як правило це всього 15000...30000 км пробігу) після ремонту ГБЦ.
Після проведеного обміру, із Замовником узгоджуються шляхи проведення механічної обробки площин ГБЦ.

Перевірка порожнини системи охолодження ГБЦ на герметичність.

Дефекти порожнини охолодження ГБЦ можна умовно розділити на дві підгрупи.

  • Перша підгрупа — видимі дефекти. Це дефекти у вигляді тріщин, раковин кавітацій, пористості металу, механічні ушкодження які можна побачити візуально.
  • Друга підгрупа — невидимі дефекти. Це дефекти порожнини, що утворилися і розташовані усередині порожнини охолодження ГБЦ, що утворилися під сідлами, в місцях посадки направляючих втулок клапанів, в порожнинах формування колекторів з боку системи "Впуск" і з боку системи "Випуск" і в інших місцях ГБЦ.

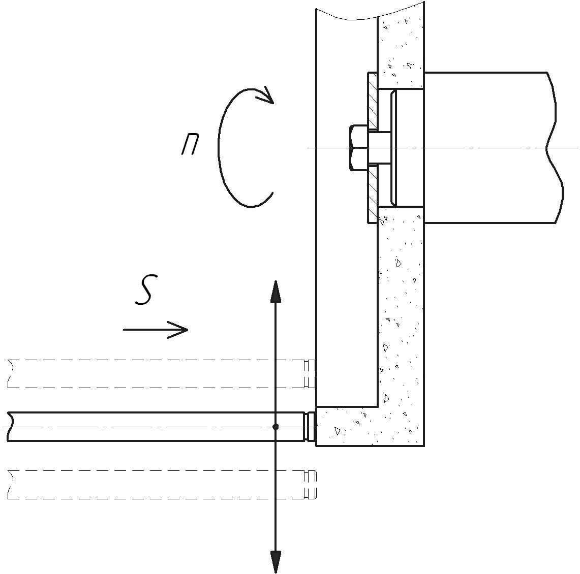
Схема установки, герметизації голівки блоку циліндрів

Крок перший :
Порожнину системи охолодження ГБЦ необхідно привести в порядок мотористові або Замовникові робіт. (Ми не виконуємо таких операцій!) Це означає, що порожнину систему охолодження необхідно очистити, механічним, хімічним шляхом, від відкладень тих, що утворилися після тривалої експлуатації на ДВС. Обов'язково розкрити усі демпферні пробки, очистити порожнини, обстежувати, встановити демпферні пробки на місце. Таку роботу проводить моторист(чи Замовник робіт), це складає перший ступінь обстеження тіла ГБЦ

Крок други:
Операція "Тестування порожнини системи охолодження ГБЦ"
Операція тестування порожнини системи охолодження ГБЦ у нас здійснюється на установках "Piccinotti PMD PTM", або "Serdi SPT 1501", або УМД 1200 "ProMotop", де умови максимально наближені до реальних при експлуатації ГБЦ на ДВС, а саме:

  • температура робочої рідини в якій тестується ГБЦ дорівнює 70ºС;
  • тиск стисненого повітря 2...4 атм (що подається в порожнину). Це технічні умови перевірки ГБЦ на установці "Тестванна".

Технічні можливості установок дозволяють збільшити тиск стислого повітря і до 10 ат, але практично, такою величиною навантаження тиском на порожнину можна пошкодити ГБЦ, наприклад порушити демпферні пробки, склянки форсунок і інші комплектуючі. Таке збільшення тиску не безпечне і проводиться тільки за наполяганням Замовника роботи із застосуванням підвищених заходів захисту по охороні праці.
Технічні можливості дозволяють збільшити температуру водного розчину в установці "тестванна" до 90ºС, але практично таке завдання не виконують з міркувань безпеки проведення робіт по тестуванню порожнини системи охолоджння і застосовувати такі умови заборонено! Водний розчин з температурою вище 70ºС є вражаючим чинником який може привести до важких опіків персоналу.
Ці характеристики устаткування дозволяють визначити не герметичність водяної порожнини у більшості випадків, але не 100 відсотків.
Дефекти не герметичності ми визначаємо тільки ті, які за цих технічних умов проявлять себе на момент тестування, - візуально по виходу з дефекту бульбашок стислого повітря!
З практики ми знаємо, що важко, наприклад, визначити не герметичність в ГБЦ, де в системі охолодження застосовувалися хімічні герметизуючі присадки(вони працюють при нагрітому ДВС, тобто холодна ГБЦ має негерметичність порожнини, а в нагрітому стані не герметичність виявити не представляється можливим) є і інші причини не виявлення ушкодження, це такі як нагар, який погано видалили або наполегливі прохання Замовника перевірити герметичність порожнини на ГБЦ із зібраними клапанами і інші подібні причини. Тому результат тестування порожнини системи охолодження ГБЦ - це орієнтовно 90...95 відсотків гарантованого виявлення не герметичності порожнини системи охолодження ГБЦ

Після позитивного результату проведення операції "Тестування порожнини системи охолодження" - порожнина системи охолодження охолодження герметична на момент тестування за описаних умов(t=70ºС і тиску стислого повітря = 2...4атм), можна приступати до проведення подальших операцій по механічній обробці ГБЦ. Інакше потрібний ремонт тіла ГБЦ в місцях виявлених дефектів або проводиться заміна ГБЦ.

Заміна направляючих втулок клапанів ГБЦ

Направляючі втулки клапанів(н.в.к), при експлуатації ГБЦ, отримують знос по внутрішньому діаметру. Тут є присутнім, як правило, позамежне вироблення по внутрішньому діаметру і порушення геометрії внутрішньої поверхні втулки, що формує внутрішній діаметр, як правило це в вісі шо перпендикулярна вісі обертання розподільного валу. Той і інший дефекти впливають на роботу ДВС. Як приклад: це підвищена, не нормована, витрата моторного мастила і пов'язана з цим димність, підвищений шум при роботі ГБЦ, утворення наросту смільних відкладень в районі між тарілкою клапана і нижньою частиною стержня клапана з боку "Впуск" і нагари з боку "Випуск", що звужує геометричний переріз колекторних каналів, двигун втрачає потужність і інші не менш важливі моменти.


Установка нових направляючих втулок клапанів в ГБЦ

Ми пропонуємо два шляхи вирішення проблеми зносу направляючих втулок клапана :

Шлях перший — заміна на нові, зношених(як по діаметру, так і за геометричними параметрами) направляючих втулок клапанів.
Позитивні сторони такого шляху ремонту :

  • встановлюється втулка напрямної виготовлена з матеріалу заводу виробника з гарантованою якістю по механічній обробці: розмір, геометрія, шорсткість поверхні.

Негативна сторона такого шляху ремонту. Ви, як споживач послуг кінцевого результату, маєте бути готові до наступного:

  • при демонтажі зношених втулок клапанів(особливо в ГБЦ виготовлених з алюмінієвого сплаву) часто відбувається утворення ушкоджень "задирів" і інших ушкоджень по геометрії посадочного колодязя під направляючу втулку, що вимагає додаткової механічної обробки, або застосування спеціальних анаеробних герметиків, що ліквідовують негативні наслідки демонтажу;
  • утворення викривлення осі н.в.к. до осі установки сідла, що надалі призводить до збільшеного знімання металу з сідла на операції "профілювання кутів сідла клапана";
  • у разі коли конструктивно ГБЦ виконана так, що направляючі втулки клапана вилиті цілісно з тілом ГБЦ, що саме по собі виключає демонтаж н.в.к., а припускає замовлення нового комплекту клапанів зі збільшеним ремонтним діаметром стержня клапана і механічну обробку внутрішнього діаметру н.в.к. на ремонтний розмір, або складну механічна операцію по розточуванню отворів і формуванню посадочного місця під змінні н.в.к. Зрештою еволюція ремонту, такої конструкції ГБЦ, приведе до затягування термінів ремонту і або установці змінних н.в.к.

Є альтернативна операція відновлення н.в.к.

Відновлення н.в.к по технологиии K - Line(США).

Шлях другий — відновлення зношеного внутрішнього діаметру направляючих втулок клапанів методом установки спеціального бронзового вкладиша у внутрішній діаметр підготовленої направляючої втулки за технологією представленою фірмою K - Line(США).

Позитивні сторони способу відновлення направляючих втулок :

  • Направляючі, рідні, втулки клапанів не демонтуються з тіла ГБЦ і відповідно технологічно, виключаються негативні сторони описані вище.
  • Вкладиш, який монтується всередину, виготовлений із спеціальної бронзи і має усередині накатані, концентричні, канавки і спеціальний розріз, що гарантує утримання моторного мастила, а сам матеріал має низький коефіцієнт тертя і хорошу теплопередачу.
  • Збільшується, при правильних експлуатаційних режимах ДВС, ресурс н.в.к. - до 30т оригінальних н.в.к.;
  • Зменшується шум при роботі клапанного механізму.
  • При повторному ремонті спрощується відновний ремонт н.в.к. На місце вкладиша, що відпрацював ресурс, встановлюється новий вкладиш і технологічно витримується необхідні розміри і геометрію внутрішнього діаметру н.в.к.
  • Низька вартість ремонту.

Негативні сторони технологічної операції :

  • надмірний, більше 0,40 мм, знос внутрішнього діаметру направляючої втулки.
  • фізична втома матеріалу втулки в районі посадочного місця під сальник. Можливе утворення тріщин, що веде до заміни на нову направляючу втулку. Ми рекомендуємо і в нову н.в.к. встановлювати бронзовий вкладиш для збереження однакового терміну служби усіх направляючих втулок.

Короткий опис технології K — Line.

Технологія представлена фірмою K - Line(США) по відновленню направляючих втулок клапанів полягає у виконанні всього п'яти технологічних переходів :

Підготовка до виконання операції :

  • Проводимо вибір набору інструменту для відновлення н.в.к. Критерієм вибору набору інструменту служить діаметр стержня клапана.
  • Підбираємо базове центруюче опорне оправляння по діаметру сідла клапана.

Перший перехід:
"Зенкерування отвору направляючої втулки клапана"
Внутрішній діаметр, направляючої втулки клапана, збільшується в розмір під встановлювану бронзову втулку, спеціальним різальним інструментом - зенкером(входить в набір).


Відновлення н.в.к. за технологією K - Line, перехід 1
Результат обробки внутрішнього розміру перевіряється вимірювальним інструментом - типу "Пробка"
"Прохід"/"Не прохід". Вимірювальний інструмент входить в набір.

Другий перехід: «Установка бронзового вкладиша» Беремо адаптер, з набору, встановлюємо в пневматичний молоток з 3000...4500 подвійних ударів в хвилину.

Відновлення н.в.к. за технологією K - Line, перехід 2
Беремо бронзовий вкладиш, розрахункового розміру(розрахунок проводиться з урахуванням теплового проміжку з витримкою необхідного перекриття розмірів - "натягу"), одягаємо в адаптер заходной фаской вкладиша убік н.в.к. Забиваємо пневматичним молотком бронзовий вкладиш в направляючу втулку(з боку сідел клапанів) зі збільшеним внутрішнім діаметром, таким чином, що б бронзовий вкладиш виходив з направляючої втулки з двох сторін - на однакову величину.

Третій перехід: "Обробка н.в.к. під необхідний розмір" Встановлена бронзова втулка, шляхом прошивки, набором гладких прошивок(що збільшуються по діаметру з кроком 0.02мм, від меншого розміру до більшого), ущільнюється по товщині стінки втулки і розрівнюється по усій поверхні внутрішнього діаметру н.в.к. Цим переходом ми виконуємо два дуже важливих технологічних вимоги.

Відновлення н.в.к. за технологією K - Line, перехід 3
В перших, ми створюємо гарантоване перекриття розмірів(натяг) між бронзовою втулкою і тілом, "рідної", підготовленої направляючої втулки клапана. Це забезпечує надійну фіксацію вкладиша в тілі направляючої втулки і зберігаємо при цьому правильний режим теплообміну.
У других, ми формуємо правильну геометрію і необхідний, встановлений заводом виробником, проміжок між стержнем клапана і внутрішнім діаметром відновленою направляючою втулкою клапана.
Увага:
Розгортками поправляти розмір направляючої втулки зі встановленим бронзовим вкладишем - заборонено!
Така операція зі зняттям шару металу вкладиша, зменшує величину "натягу", що приведе до зрушення вкладиша під час роботи ГБЦ.

Четвертий перехід: «Підрізування торця бронзового вкладиша».

Відновлення н.в.к. за технологією K - Line, перехід 4
Встановлений і сформований, по внутрішньому діаметру, бронзовий вкладиш, підрізає з двох сторін - як чисто. Операція виконується спеціальним підрізуванням з направляючим пальцем(Підрізування входить в набір інструменту).

П'ятий перехід: "Фінішна обробка внутрішнього діаметру". Внутрішній діаметр встановленого бронзового вкладиша обробляється спеціальним інструментом - хон гнучкий.

Відновлення н.в.к. за технологією K - Line, перехід 5
Операція виконується як фінішна, після обробки гнучким хоном можна робити тільки складальну операцію, втулка-стержень клапана. Які або інші вироби не можна встановлювати для збереження шорсткості поверхні утвореної гнучким хоном):
  • очищення внутрішнього діаметру бронзового вкладиша від продуктів механічної обробки;
  • наноситься додаткова хонинговальная сітка, яка сприяє утриманню додаткового об'єму моторного мастила, що гарантує правильні умови роботи стержня клапана(внутрішній діаметр при цій операції залишається незмінним, знімання металу вкладиша - 0,001...0,002мм). Обробка відбувається одним рухом дриля на оборотах - "вниз" - "вгору"!

И так, І так, ми відновили працездатність направляючих втулок клапанів одним із запропонованих методів. Створили базу для проведення механічної обробки сідел клапанів. Контролюється:

  • внутрішній діаметр направляючої втулки зі встановленим бронзовим вкладишем;

Заміна сідел клапанів. Операція виконується в міру потреби.

Після тривалої роботи ГБЦ відбувається знос по вузлу втулка "напрямної клапана клапан сідло"

Ми розглянули варіанти ремонту направляючих втулок клапанів. Тепер розглянемо операцію заміни кілець сідел клапана.
Сідло клапана виконує дуже важливу роль в правильній і довговічній роботі ГБЦ і зобов'язане відповідати певній якості для виконання своїх функцій це:

  • висока теплопровідність;
  • фізична міцність;
  • хімічна міцність;

Встановлюються оригінальні сідла клапанів, від виробника, якщо ГБЦ дозволяє встановити ці сідла(розмір гнізда забезпечує потрібний натяг) і сідла клапанів власного виробництва. У нас кожна партія сідел клапанів проходить ретельну перевірку, за результатами якої отпределяется придатність партії що поступила у виробництво.
Дефектують наступні параметри: геометричні розміри, механічна оброблюваність, твердість, хімічний склад. Виконується дефектоскопія кольоровими пенетрантами - проводиться перевірка на наявність тріщин, пір, відхилень в однорідності структури металу.
У своїй роботі ми використовуємо наступну технологію установки сідел :

  • правка посадочного місця сідла клапана в ГБЦ(за винятком встановлення оригінальних сідел, коли не передбачений ремонтний розмір), що дає можливість відновити необхідний тепловідвід, забезпечує співісну н.в.к. і сідла клапана, що забезпечує правильний термін служби роботи вузла, сідло клапана - клапан; Контролюється: розмір посадочного діаметру, перпендикулярність наполегливої полички під кільце сідла і висота установки кільця сідла клапана.
  • нагріваючи ГБЦ з алюмінієвого сплаву проводиться до температури 90...100°С. Чавунним ГБЦ, у зв'язку з великою масою, нагрів не роблять; Характеристики міцності матеріалу ГБЦ з чавуну досить для встановлення кілець сідла з потрібним "натягом"
  • охолодження сідла клапана в рідкому азоті до температури - мінус 190°С. Сідло без зусиль, за допомогою спеціальних оправлянь, монтується в посадочне місце ГБЦ, після досягнення ГБЦ нормальної температури (проводиться витримка в часі), забезпечується рекомендований натяг між сідлом і посадочним місцем за рахунок фізичного рівномірного охоплення тіла сідла тілом ГБЦ. Чим менше зусилля установки, тим нижче вірогідність ушкодження базового отвору кільця сідла. Правильна геометрія і шорсткість поверхні посадочного місця сідла і самого кільця сідла клапана, гарантує щільний обхват кільця і правильний теплообмін.
    Контролюється візуально і за допомогою наборів щупів прилягание кільця сідла клапана до опорної полички посадочного місця.

Схема установки сідел клапанів
Механічна обробка площин ГБЦ.
Операція робиться в міру потреби.

Механічна обробка площини роз'єму ГБЦ під прокладку блоку циліндрів. Ця операція по механічній обробці площини виконується на спеціальному універсальному устаткуванні.
Спеціалізація цього устаткування полягає в тому, що на нім можна обробляти площину роз'єму ГБЦ за спеціальною схемою різання. Схема різання забезпечує параметри по площині в межах 0.01...0.02мм і параметри по шорсткості поверхні при обробці ГБЦ в межах Ra0, 8мкм; Rz6, 3мкм;, що відповідає вимогам провідних виробників прокладень для ГБЦ, виготовлених їх різних матеріалів. Тонкощі і вірність цієї схеми різання полягає в тому, що закріплена ріжуча пластина здійснює обертання на планшайбі впоперек осі розміщення колінчастого вала в ДВС, що забезпечує поперечне розташування слідів різання, що в свою чергу забезпечує правильну експлуатацію прокладки між ГБЦ і БЦ з максимальною герметичністю, при виконанні умов монтажних зусиль

Схема обробки головки блоку циліндрів
Універсалізація устаткування полягає в тому, що на устаткуванні забезпечена можливість механічної обробки ГБЦ по конструкції усіх серійних ДВС(для спеціальної техніки є спеціальна лінійка устаткування, яка також є у нас). ГБЦ, представлені промисловістю, мають конструктивно паралельні площини і не паралельні площини. Спеціальні універсальні пристосування, що поставляються з устаткуванням, дозволяють швидко і надійно затиснути ГБЦ без деформації площини.
Схема установки високотехнологічної різальної пластини забезпечує при роботі дві умови. Перша умова - це зняття шару металу; Друга умова - при режимі різання геометрія пластини забезпечує потрібну шорсткість поверхні за допомогою загладжуючого ефекту задньої поверхні різальної пластини.
Для виконання операції необхідно знати технічні параметри:
  • висота ГБЦ;
  • мінімально допустима висота ГБЦ;
  • прогиб ГБЦ.

Шліфовка робочої фаски "тарілки" клапана.

Операція робиться у міру потреби.

Після обміру клапанів, приймається рішення про подальшу експлуатацію клапана. Якщо знос тарілки клапана, стержня клапана граничний - клапан рекомендується замінити, при незначному зносі діаметру стержня клапана(до 0.015мм) і наявності певної величини циліндричної частини тарілки клапана, виконується механічна обробка тарілки клапана, яка включає наступні технологічні переходи :

Схема зняття фаски стержня клапана, торцювання клапана
  • зняття фаски стержня клапана, торцювання клапана - обробка клапанів по висоті в один розмір і створення бази для подальшої обробки;

Схема шліфовки робочої фаски тарілки клапана
  • шліфування робочої фаски тарілки клапана під рекомендованим кутом.
Відновлення робочої фаски тарілки клапана проводиться за рахунок висоти циліндричної частини тарілки клапана h до допустимого значення(рекомендації виробників ДВС).
Величина биття фаски тарілки клапана, після механічної обробки допускається в межах 0.01...0.02мм. Перевірка биття клапана проводиться в спеціальному пристосуванні з двома індикаторами - один перевіряє радіальне биття стержня клапана, інший биття робочої фаски тарілки клапана.
Результати операції вносяться в карту виконаних робіт до Замовлення.

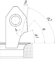
Профілювання робочих фасок сідел клапанів.

Операція профілювання робочої фаски сідел клапанів виконується після операції установки сідел або, якщо значення вильоту штока клапана/залягання тарілки клапана знаходиться в межі допуску і припуск на обробку не перевищує значення цієї межі.
Операція виконується на високоточних верстатах Newen GII, Newen Contour BB, Newen Epoc, виробництва США.

Схема профілювання сідел клапанів на верстаті Newen GII. А-ширина робочої фаски; У - ширина допоміжної фаски; a1, a, a2 - комбінація кутів.

Схема профілювання сідел клапанів на верстаті Newen GII.
Для виконання робіт потрібні наступні параметри виробників ДВС:
  • виліт штока клапана і/або залягання тарілки клапана;
  • комбінація кутів сідла клапана;
  • • ширина робочої фаски сідла клапана.
При механічній обробці і профілювання сідел клапанів, на нашому устаткуванні, можна витримувати профіль практично будь-якої складності і комбінації кутів, а ідеальна співісна з направляючою втулкою досягається, завдяки самоцентруванню "плаваючого шпинделя" на повітряній подушці, що дозволяє обробляти робочу і допоміжні фаски сідла клапана зі зміщенням не більше 0,010 мм.
Після профілювання, додаткова механічна обробка, притирання - не потрібна. Виконується перевірка герметичності прилягання нового або обробленого клапана до обробленого сідла за допомогою приладу - вакуумтестеру. Результати обробки вносять в супровідний документ до замовлення - карта виконаних робіт.
Ці обробки заносяться в карту виконаних робіт, яка разом з деталлю видається клієнтові. Карта виконаних робіт містить дані механічної обробки заявлені або погоджені Клієнтом(до обробки) і витікаючі дані(після обробки). Після виконання замовлення клієнт повинен прийняти деталь, здійснити повний контроль якості виконаних робіт, для цього він може скористатися нашим інструментом. У своїй роботі ми відповідаємо за погоджені параметри поверхонь на яких здійснювалася механічна обробка:
  • розмір поверхні деталі;
  • геометрію поверхні деталі; 
  • шорсткість поверхні деталі.
У статті приведений список основних виконуваних операцій по механічній обробці ГБЦ. З переліком виконуваних операцій можна ознайомитися на сайті в розділі "Калькулятор вартості робіт" або безпосередньо в підрозділах мережі "ПроМотор" вашого регіону.
Перегляньте також: